Catalogue

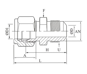
Tube To An Union

Tube To An Union
Tube To An Union Drawing